The Transactor, Volume 6, Issue 6, May 1986

x×100 x×200 x×400

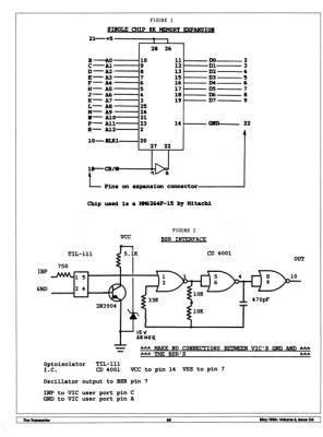
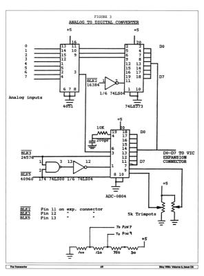
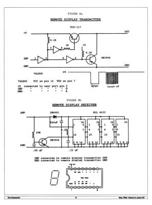
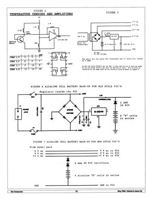
[Cover Page of The Transactor Volume 6, Issue 6: Real Life Applications] [Advertisement: The Transactor Disk] [Cover Art] [Advertisement: The Complete Commodore Inner Space Anthology, Over 7,000 Delivered Since March '85] [Article Index] [General Information] [Editorial] [Using "VERIFIZER"] [Bits and Pieces (1/6)] [Bits and Pieces (2/6)] [Bits and Pieces (3/6)] [Bits and Pieces (4/6)] [Bits and Pieces (5/6)] [Bits and Pieces (6/6)] [Letters (1/8)] [Letters (2/8)] [Letters (3/8)] [Letters (4/8)] [Letters (5/8)] [Letters (6/8)] [Letters (7/8)] [Letters (8/8)] [TransBASIC Installment #8 (1/10)] [TransBASIC Installment #8 (2/10)] [TransBASIC Installment #8 (3/10)] [TransBASIC Installment #8 (4/10)] [TransBASIC Installment #8 (5/10)] [TransBASIC Installment #8 (6/10)] [TransBASIC Installment #8 (7/10)] [TransBASIC Installment #8 (8/10)] [TransBASIC Installment #8 (9/10)] [TransBASIC Installment #8 (10/10)] [The Amiga: A User's Perspective (1/4)] [The Amiga: A User's Perspective (2/4)] [The Amiga: A User's Perspective (3/4)] [The Amiga: A User's Perspective (4/4)] [The Amiga: A Programmer's Perspective (1/5)] [The Amiga: A Programmer's Perspective (2/5)] [The Amiga: A Programmer's Perspective (3/5)] [The Amiga: A Programmer's Perspective (4/5)] [The Amiga: A Programmer's Perspective (5/5)] [Amiga DOS & CLI Commands (1/4)] [Amiga DOS & CLI Commands (2/4)] [Amiga DOS & CLI Commands (3/4)] [Amiga DOS & CLI Commands (4/4)] [AMIGA Editor Commands] [EDIT: Amiga's Line Oriented Editor] [Pick Areas and Pop Menus: Drop-Down Menus for Your Commodore 64 (1/5)] [Pick Areas and Pop Menus: Drop-Down Menus for Your Commodore 64 (2/5)] [Pick Areas and Pop Menus: Drop-Down Menus for Your Commodore 64 (3/5)] [Pick Areas and Pop Menus: Drop-Down Menus for Your Commodore 64 (4/5)] [Pick Areas and Pop Menus: Drop-Down Menus for Your Commodore 64 (5/5)] [Dvorak Keyboard for the Commodore 64 (1/3)] [Dvorak Keyboard for the Commodore 64 (2/3)] [Dvorak Keyboard for the Commodore 64 (3/3)] [Screenboard for the Commodore 64 (1/4)] [Screenboard for the Commodore 64 (2/4)] [Screenboard for the Commodore 64 (3/4)] [Screenboard for the Commodore 64 (4/4)] [Crystall Ball for the C64 or VIC 20 (1/6)] [Crystall Ball for the C64 or VIC 20 (2/6)] [Crystall Ball for the C64 or VIC 20 (3/6)] [Crystall Ball for the C64 or VIC 20 (4/6)] [Crystall Ball for the C64 or VIC 20 (5/6)] [Crystall Ball for the C64 or VIC 20 (6/6)] [Home Control on a VIC 20 (1/10)] [Home Control on a VIC 20 (2/10)] [Home Control on a VIC 20 (3/10)] [Home Control on a VIC 20 (4/10)] [Home Control on a VIC 20 (5/10)] [Home Control on a VIC 20 (6/10)] [Home Control on a VIC 20 (7/10)] [Home Control on a VIC 20 (8/10)] [Home Control on a VIC 20 (9/10)] [Home Control on a VIC 20 (10/10)] [A Comparison of Four Word Processors (1/3)] [A Comparison of Four Word Processors (2/3)] [A Comparison of Four Word Processors (3/3)] [News BRK (1/3)] [News BRK (2/3)] [News BRK (3/3)] [Captain Syntax] [Compu-toons] [Advertisement Section]